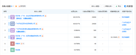
投资界(ID:pedaily2012)4月28日消息,近日,广州广开知城人工智能产业投资基金合伙企业(有限合伙)成立,执行事务合伙人为广州开发区新源私募基金管理有限公司,知识城(广州)创业投资基金管理有限公司、广州开发区资本投资有限公司、广州开发区新源私募基金管理有限公司、知识城(广州)投资发展集团有限公司等共同出资。
本基金出资额约5亿人民币,聚焦以私募基金从事股权投资、投资管理、资产管理等活动。


(图片来源:天眼查截图)
点击获取更多LP资讯
【本文为投资界原创,网页转载须在文首注明来源投资界(微信公众号ID:PEdaily2012)及作者名字。微信转载,须在微信原文评论区联系授权。违规转载必究责。】



