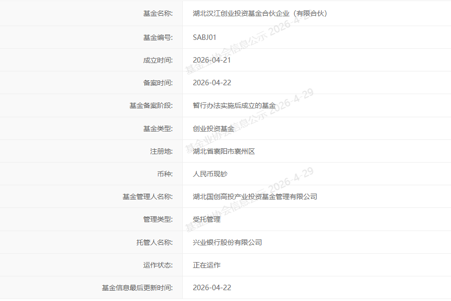
投资界(ID:pedaily2012)4月29日消息,近日,襄阳市科创种子基金(工商注册名:湖北汉江创业投资基金合伙企业(有限合伙))顺利完成中国证券投资基金业协会备案,标志其正式进入实质性运作阶段。

该基金由襄阳市政府投资引导基金联合湖北省楚天凤鸣科创种子基金共同出资设立,总规模5000万元。作为襄阳市重构政府引导基金体系后设立的首只种子基金,该基金打通了从实验室到产业化的“最初一公里”,有效填补了襄阳市在“从0到1”早期科创投资领域的“关键拼图”。基金严格贯彻省委、省政府“股权投资做引导”的工作部署,认真落实相关政策文件要求,已于近期完成首期实缴出资和基金备案,以务实高效之举跑出了基金落地的“襄阳速度”。
下一步,襄阳市科创种子基金将重点支持襄阳市区域科技创新及科研成果转化项目,坚持“投早、投小、投硬科技”。通过“路演+投决”一体化机制,推动创新链、产业链、资金链深度融合,力争打造襄阳市科技创新的“金字招牌”和“示范窗口”,为襄阳打造汉江流域科技创新中心和人才高地注入强劲动能。
来源:襄阳市融资担保平台
点击获取更多LP资讯
【本文为投资界原创,网页转载须在文首注明来源投资界(微信公众号ID:PEdaily2012)及作者名字。微信转载,须在微信原文评论区联系授权。违规转载必究责。】








